- Der RLX-III Totmannschalter
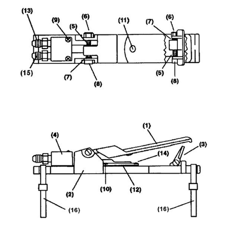
Der RLX-III ist ein pneumatischer Handhebel als Fernbedienung für Strahlkessel mit einer geringen Reaktionszeit.
Er bietet eine hohe Sicherheit durch eine doppelte Verschraubung, ermöglicht aber dennoch einen einfachen Austausch des Ventilblocks.
Als Option bietet er eine Doppelfunktion für zusätzliche Bedienmöglichkeiten am Strahlkessel und eine Arretierung für den Hebel.
| Ausstattung |
Optionen: Doppelfunktion und Arretierung |
| Strahldruck | 0 < > 12 bar |
| Arbeitstemperatur | -15°C < > +50°C |
Für den Betrieb des Handhebels ist unbedingt die Bedienungsanweisung des Strahlkessels zu verwenden.
Der Hebel mit pneumatischer Steuerung RLX geeignet für von der Arbeitsstelle des Bedieners gesteuerten Sandstrahlmaschinen.
Marke
Stelle eine Frage
Ihre Bewertung schreiben








